のせん断鎖設計 セル型ゴムフェンダー
船が埠頭に停泊すると、ほとんどの船は最初に船首または船尾から1/3および1/4の長さで埠頭に衝突します。ゴムフェンダーは、埠頭の耐衝撃装置として、埠頭岸壁に垂直な通常の衝撃力だけでなく、埠頭岸壁に平行な接線力にも耐える必要があります。通常の動作条件下では、セルタイプのゴム製フェンダーは船の接線力に耐えることができます。ただし、ゴムフェンダーバレルのせん断変形が指定された要件を超える場合、せん断チェーンはゴムフェンダーバレルのせん断変形を防止する必要があります。したがって、シャーチェーンはドラムフェンダーの通常の操作と合理的な性能を確保する上で重要な役割を果たします。
ドラムラバーフェンダーシャーチェーンの設計方法を以下に紹介します。
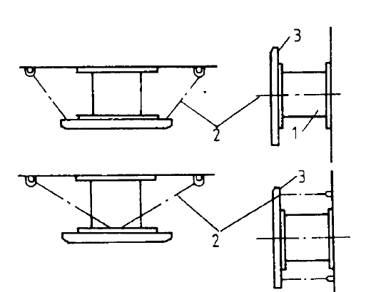
せん断チェーンは通常、ゴムフェンダーの両側に配置され、一方の端は 耐衝撃プレート に固定され、もう一方の端は岸壁に固定されています(図I)。シアーチェーンは一般的に通常のチェーンを採用しており、その仕様と数量はゴムフェンダーの仕様、ゴムフェンダーの配置、耐衝撃板のサイズによって決まります。

図I
せん断チェーンの設計原理は、セルラバーフェンダーのせん断変形が最も不利な停泊条件下で指定された要件を超えないようにすることです。ドラムゴムフェンダーの設計変形率を50%、許容せん断変形をCと仮定します。図2に示すように
C:ドラム型ゴムフェンダーの許容せん断変形。
D:荷降ろし条件下でのゴムフェンダーの岸壁へのせん断チェーンの水平投影。
H:ドラムラバーフェンダーの高さ。
セル型ゴムフェンダーのせん断鎖は、ゴムフェンダーの両側に水平に配置する。
長さlは式に従って計算されます。一端は耐衝撃プレートに固定され、他端は埋め込まれたUリングに固定されています